Αποστολέας Θέμα: Πρόσφατες πατέντες  (Αναγνώστηκε 807 φορές)

0 μέλη και 1 επισκέπτης διαβάζουν αυτό το θέμα.

Αποσυνδεδεμένος Centaur

  • Paneristi Team
  • Paneristi Egiziano
  • *****
  • Μηνύματα: 2192
Πρόσφατες πατέντες
« στις: Ιανουαρίου 18, 2022, 07:21:16 μμ »
Δύο πρόσφατες πατέντες απ'την Panerai  :m0121:

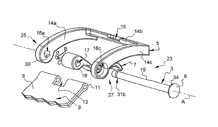
Α) Fermoir à démontage perfectionné (Advanced disassembly clasp): https://patents.google.com/patent/CH716252A1

Είναι μια πρόταση για εύκολη απελευθέρωση της μπούκλας με ένα clasp κατω απ'το λουράκι που θα ξεκουμπώνει/κουμπώνει την μπουκλα. Είναι βιδωτό απ'ότι φαίνεται και με την περιστροφή απελευθερώνεται.

https://i.postimg.cc/XqhYK67P/Screenshot-2022-01-18-at-7-08-05-PM.png
Πρόσφατες πατέντες
Πρόσφατες πατέντες


https://i.postimg.cc/xCD7zx2P/Screenshot-2022-01-18-at-7-07-28-PM.png
Πρόσφατες πατέντες
Πρόσφατες πατέντες



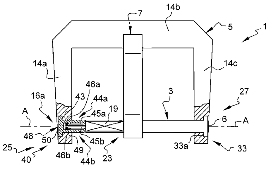
Β) Mouvement horloger à dispositif d'accélération d'affichage, notamment pour un quantième grande date (Watch movement with a display acceleration device, in particular for a large date calendar): https://patents.google.com/patent/CH717278A1


Πρόκειται για μια εφεύρεση σχετική την ημερομηνία, υλοποίηση με 2 δίσκους.

https://i.postimg.cc/NM6n76Gv/Screenshot-2022-01-18-at-5-44-06-PM.png
Πρόσφατες πατέντες
Πρόσφατες πατέντες


https://i.postimg.cc/kGwhL7tj/Screenshot-2022-01-18-at-5-43-34-PM.png
Πρόσφατες πατέντες
Πρόσφατες πατέντες



From AB on 2020-07-20 16:18:
"Dear all Paneristi Hellas,
Let me say that I am emotion seeing what u did for this fantastic brand. Each detail is take inspiration from the story and from your passion. I will keep every think in my special memory.What to say? Well made, we’ll done well passion."